
MIL-DTL-18295F
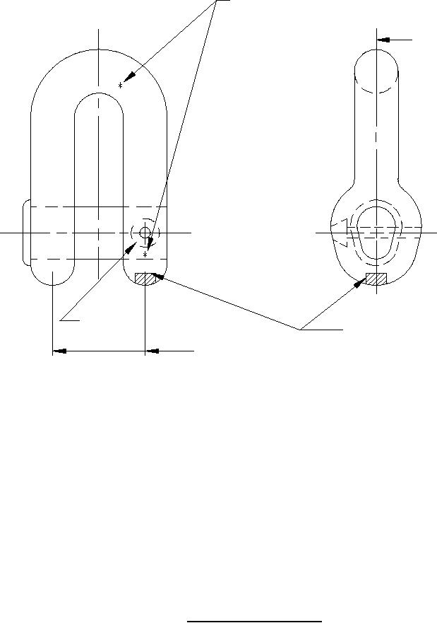
BRINELL
HARDNESS
TEST
MICRO
PLANE
FOR BOW
DOVETAIL
MICROSTRUCTURE
SPECIMEN
MICRO PLANE
FOR PIN EYES
FIGURE 16. Test locations for shackles.
46
For Parts Inquires submit RFQ to Parts Hangar, Inc.
© Copyright 2015 Integrated Publishing, Inc.
A Service Disabled Veteran Owned Small Business